





Contact Us


Many high pressure applications such as reaction chambers often times require temperature monitoring and control at temperatures from 2,000 degrees Fahrenheit to over 3,000 degrees Fahrenheit. Since refractory or ceramic sheathed thermocouples are used to monitor these temperatures, the strength of these sheaths are not sufficient to withstand these external pressures at these temperatures. In order to prevent the sheaths from collapsing, we have drilled a small hole through the sheath at the sensing tip end, this feature allows the internal pressure inside the sheath to equalize with the external pressure; thus, preventing the sheath from collapsing. Also, we have built a gas-tight pressure seal into the thermowell; so that, high pressure gases will not escape through the mineral oxide insulation.
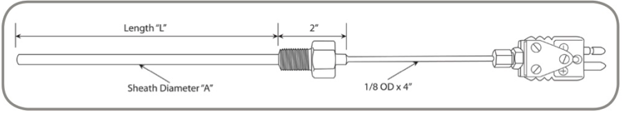
This High Temperature Thermocouple uses either a molybdenum or tantalum sheath; having a 1/16 inch hole drilled through the sheath near the junction end. Recommended use in reducing or neutralizing atmosphere. Both are excellent in thermal cycling applications. In oxidizing atmospheres either alumina or zirconia sheaths are recommended. Instead of a 1/16 inch diameter hole, a small slot is machined through the sheath at the sensing end. Alumina sheath is recommended to about 3,300 degrees Fahrenheit maximum, whereas zirconia can be used to about 4,400 degrees Fahrenheit. Both of these sheaths must not be subjected to temperature changes exceeding 200 degrees Fahrenheit per hour.

| Specifications | ||||||||||
|---|---|---|---|---|---|---|---|---|---|---|
| Part No. | A12C-1 | A12C-2 | A12C-3 | A12C-4 | A12C-5 | A12C-6 | A12C-7 | A12C-8 | A12C-9 | A12C-10 |
| Sheath Diameter ”A” (in.) | 0.125 | 0.187 | 0.250 | 0.125 | 0.187 | 0.250 | 0.250 | 0.375 | 0.250 | 0.375 |
| Sheath Material | Molybdenum | Tantalum | Alumina | Zirconia | ||||||
© 2025 Nanmac Corporation