





Contact Us


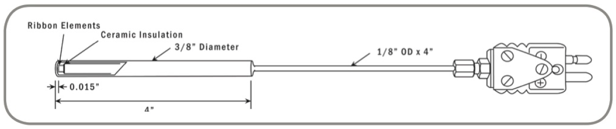
This series of Right Angle Ribbon Thermocouple features a stainless steel diaphragm over the ribbon thermal junction. This diaphragm is 0.015 inches thick. The design is used whenever a 1000 /• sanitary requirement is required. Applications such as manufacturing foods or medicines occasionally require this feature.
This Right Angle Ribbon Thermocouple sensor features a thermal junction of thin ribbons elded together at the sensing tip. These ribbons are brought out from opposing sides f the probe between the interface of an insulating rod and cone assembly. The ribbons in the vicinity of the media being measured are parallel to the plane of the heat source. Thus, both the ribbons and the thermal junction are heated simultaneously and conduction errors are eliminated. The ribbon elements also allow for fast response times to temperature change. Since there is a large surface area to cross-section area ratio in the ribbon design as compared to round wires.
This assembled ribbon junction is then installed into a special thermowell which has a 0.015 inch thick diaphragm on its tip. Thus, the thermal junction is now in intimate thermal contact with the stainless steel diaphragm. This produces an electrically grounded thermal junction. When an ungrounded junction is desired, a thin disc of electrical insulating material is inserted between the junction and the diaphragm. Special attention is made to use a material with good heat transfer properties.

| Specifications | |||||
|---|---|---|---|---|---|
| Part No. | Type | ||||
| C6-J C6-K C6-E C6-T | J K E T | ||||

© 2025 Nanmac Corporation